这款投币器只能设定一个国家的币值
第一步:“更改内部设定值步骤”顺序:(xx)=图片部件编号

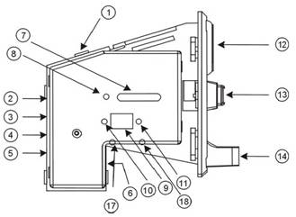
显示器(9)两边的按钮是”加(10)”,”减(11)”
1.
同时按下显示器(9)两边的按钮(10,11)
2.
直到显示”A”
3.
然后按”显示器(9)”上面,”LED灯(7)”
左边的按钮(8)
4. 会显示【E】【要投入几种硬币,就输入多少】
(如果只有设置一种硬币,在这里E设置成2个)
5.
然后按显示器(9)两边的按钮”加(10)”或”减(11)”
6.
譬如1种,按【加(10)】1次,会显示1
7. 然后,按”LED灯(7)” 左边的按钮(8)
注意:如果【E】设定完成后就显示【P】(输出脉冲数量)
这种模式不需要设定【H】
设定完成后参考(第二步骤)
但是投样币的时候需要投15个硬币
(当然可以使用5个以上连续投币到
一排LED灯轮流亮完,再投下一种硬币
-------【H】
8.
会显示【H1】【投入采样数量硬币几个,就输入多少】
一般准备各种硬币至少5个采样用
9.
按显示器(9)两边的按钮”加(10)”或”减(11)”
10.
譬如5个,按【加(10)】5次,会显示5
11. 然后,按”LED灯(7)” 左边的按钮(8)
-------【P】
12.
会显示【P1】
13.
(输出脉冲数量)
14.
如果只有一元,五角两种
一元的就设定为
2
,五角的就设定为
1
15.
如果有一元,五角,一角三种,一元的就设定为
10
五角的就设定为 5
,一角的就设定为
1
16. 然后,按”LED灯(7)” 左边的按钮(8)
-------【F】
17.
会显示【F1】,设定 8,就可以了
18. 然后,按”LED灯(7)” 左边的按钮(8)
19. style='mso-bidi-font-weight:normal'>【H2】
20.重复(8~18)的步骤
21.直到显示器显示(0)
22.很重要(将投币器引线拔下来,再插上去,或者重新启动投币箱电源)
第二步:按照“设定硬币采样方法”顺序
1.
单击”显示器(9)”上面,按”LED灯(7)”
左边的按钮(8)
2.
会显示”A”
3.
再单击”显示器(9)”上面,按”LED灯(7)”
左边的按钮(8)
4. 会显示”A1”
5. 投入第一种采样币完毕后(可以按刚才设置的顺序,连续投币)
6. 会显示”A2”【设定时超过一种硬币才会显示A2,A3..】
7. 重复4~6的步骤
8. 投币到显示 0 ,就完成了这个部分
9.
很重要(将投币器引线拔下来,再插上去,或者重新启动投币箱电源)
10. 开始投币测试
测试投入硬币时,如果不吃币,重复第一步开始设定

以下是部分简体中文的设置
不同用途显示画面文字不同


