Multi coin selector Setting step

 

If only one type of coin is set, the following method can be tried.

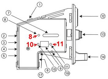
Press the button (8)

The monitor will display (A1)

At this time At this time, insert 15 coins consecutively

Once all the LED lights are displayed, you can insert a coin to test.

Note, not every coin acceptor can be set up this quickly.

If this method cannot be used

 

 

The buttons on both sides of the display (9) are "add button (10)", " decrease button (11)"

first step“Change set value step” (xx)= Picture part number

1

StartSimultaneously press the buttons on both sides (10, 11)of the display (9)

2

Until the "A" is displayed, then press the "Display (9)" above, "LED (7)" button on the left (8)

3

[E] [How many inputs should be entered when several coins are to be put in], (If only one coin is set, E is set to 2 here)

Note: If 【E】 is set, 【P】 (output pulse count) will be displayed.
This mode does not require setting
【H】 and 【F】
You only need to set
【E】 (several types of coins) and 【P】 (the pulse of each type of coin).
Refer to (Step Two) after setting is complete
However, when inserting the sample coins, you need to insert 15 coins.
(Of course, you can use more than five coins consecutively to light up a row of LEDs one after another, and then insert the next type of coin)

4

Only set one coin, cycle the same setting twice, coin sampling method, two-stage coin is the same coin

5

Then press the button "Add button (10)" or " decrease button (11)" on both sides of the display (9), such as 1 type, press [Add button (10)] once, it will display 1

6

Then, press the button on the left of the "LED Light (7)" button (8)

Note: if 【E】 is set, 【P】 (output pulse count) will be displayed
This mode does not require setting 【H】 and 【F】

You just need to set 【E】(several types of coins) and 【P】(the pulse of each type of coin).
Refer to (the second step) after completing the setup
However, you need to insert 15 coins when using the coin slot.
Of course, you can use more than 5 consecutive coins to light up a row of LEDs in turn, then insert the next type of coin.

-------H

7

[H1] will be displayed. [How many coins are input when the number of coins is sampled] generally, at least 5 samples for various coins are prepared.

8

Press the button " Add button (10)" or " decrease button (11)" on both sides of the display (9), for example, 5, press [plus (10)] 5 times, it will display 5

9

Then, press the button (8)on the left of the "LED Light (7)"

-------P

10

[P1] will be displayed, (the number of output pulses for one coin)

11

If there are only 50 cents, 25 cents are two, 50 cents is set to 2, 25 cents is set to 1, that is, 25 cents is the base.

12

Then, press the button (8)on the left of the "LED Light (7)"

-------F  F=screening the sensitivity of the coin

13

[F1] will be displayed, setting 8 will be fine

14

Then, press the button (8)on the left of the "LED Light (7)"

15

Then [H2] will be displayed, repeat steps 5 to 14.

16

Until the display shows (0)

17

Very important, (unplug the coin feeder, plug it in, or restart the coin box)

 

Second stepFollow the "Set Coin Sampling Method" sequence

1

Press once, the button (8) on the left of the LED light (7) will display "A"

2

Press again, the button (8) on the left of the LED (7) will display "A1"

3

After the amount of the first sampled coin is completed (you can continue to deposit coins in the order you just set)

4

Will display "A2" [Set more than one coin will display A2, A3..]

5

Repeat steps 34

6

This part is completed until 0 is displayed.

7

Very important, (unplug the coin feeder, plug it in, or restart the coin box)

8

Start putting coin test 

9

When testing the coin, if the coin will exit from the front, repeat the first step to start setting

 

 Back to instructions homepage