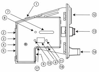
第一步:“更改內部設定值步驟”順序:(xx)=代表圖片部件編號

顯示器(9)兩邊的按鈕是”加(10)”,”減(11)”
1.
開始,同時按下顯示器(9)兩邊的按鈕(10,11)
2.
直到顯示”A”,然後按”顯示器(9)”上面,”LED燈(7)” 左邊的按鈕(8)
3.
會顯示【E】【要投入幾種硬幣,就輸入多少】,(如果只有設置一種硬幣,在這裡E設置成2個)
(只有設置一種硬幣,循環兩次相同的設置,硬幣採樣方法,兩階段的投幣都是相同的硬幣)
4.
然後按顯示器(9)兩邊的按鈕”加(10)”或”減(11)”,譬如1種,按【加(10)】1次,會顯示1
5. 然後,按”LED燈(7)” 左邊的按鈕(8)
注意:如果【E】設定完成後就顯示【P】(輸出脈衝數量)
這種模式不需要設定【H】
只需要設定【E】(幾種硬幣) 及【P】(每一種硬幣的脈衝)即可
設定完成後參考(第二步驟)
但是投樣幣的時候需要投15個硬幣
(當然可以使用5個以上連續投幣到
一排LED燈輪流亮完,再投下一種硬幣
-------【H】
6.
會顯示【H1】【投入採樣數量硬幣幾個,就輸入多少】,一般準備各種硬幣至少5個採樣用
7.
按顯示器(9)兩邊的按鈕”加(10)”或”減(11)”,譬如5個,按【加(10)】5次,會顯示5
8.
然後,按”LED燈(7)” 左邊的按鈕(8)
-------【P】
9.
會顯示【P1】(輸出脈衝數量)
10.
如果只有一元,五角兩種,,一元的就設定為 2 ,五角的就設定為 1
11.
如果有一元,五角,一角三種,一元的就設定為 10 ,五角的就設定為 5 ,一角的就設定為 1
12.
然後,按”LED燈(7)” 左邊的按鈕(8)
-------【F】
13.
會顯示【F1】,設定 8,就可以了
14.
然後,按”LED燈(7)” 左邊的按鈕(8)
15.
然後會顯示【H2】重複6~18步驟
16.
直到顯示器顯示(0)
17.
很重要(將投幣器引線拔下來,再插上去,或者重新啟動投幣箱電源)
第二步:按照“設定硬幣採樣方法”順序
1.
按一下”顯示器(9)”上面,按”LED燈(7)” 左邊的按鈕(8)
2. 會顯示”A”
3. 再按一下”顯示器(9)”上面,按”LED燈(7)” 左邊的按鈕(8)
4. 會顯示”A1”
5. 投入第一種採樣幣完畢後(可以按剛才設置的順序,連續投幣)(H/採樣數量,就要投幾個)
6.
會顯示”A2”【設定時超過一種硬幣才會顯示A2,A3..】
7.
重複4~6的步驟
8. 投幣到顯示 0 ,就完成了這個部分
9. 很重要(將投幣器引線拔下來,再插上去,或者重新啟動投幣箱電源)
10. 開始投幣測試
測試投入硬幣時,如果不吃幣,重複第一步開始設定
|
淘寶店鋪: |